如何撕掉“平替”标签,做出属于自己的特色,国货仍需努力。
图片来源:Unsplash-Jocelyn Morales
文|C2CC新传媒
近日,欧莱雅玻色因产品矩阵中推出新品——金致小蜜罐身体乳,官方宣称此为“面霜级别身体乳”,主打淡纹紧致,柔滑滋润功效。对此,不少网友表示已下单期待后续使用感。

玻色因,是美妆行业公认的明星抗衰成分。作为玻色因的出圈“代言人”,欧莱雅在过去的20年间共发表了12篇玻色因相关的科学文献,并在全球范围内申请了70多项专利,将玻色因的价值发挥至极致。
无论是玻色因溶液浓度为30%的赫莲娜黑绷带、修丽可AGE面霜,还是羽西21%玻色因的鎏金面霜,亦或是浓度低于5%的欧莱雅紫熨斗,上述新推的金致小蜜罐身体乳。玻色因覆盖了欧莱雅旗下不同浓度、不同价位的多个明星品牌产品。
现阶段,欧莱雅对玻色因“合成工艺”和“核心功效”20年专利保护就已过期,国内品牌纷纷瞄准玻色因成分赛道。
MIXX、米蓓尔、米加、甘华露、修之妍、言之有物等国产玻色因产品兴起,以高浓度玻色因和高性价比打入抗衰市场,国人呼声颇高,颇有围剿之势。
然而,国产玻色因真的靠谱吗?和欧莱雅旗下的玻色因产品有什么区别?对此C2CC传媒X新妆第五期系列报道《揭秘吧!成分》,将深度揭秘抗衰利器——玻色因背后的痛点、难点和趋势。
1999年,欧莱雅研发和创新中心的科学家玛利亚·达尔科-西巴博士(Dr. Maria DALKO-CSIBA)发现了糖胺聚糖大分子的合成,大多需要一种从山毛榉木中提取的天然成分“木糖”来作为起始物。
1999年至2000年间,欧莱雅研究和创新中心总共合成了200多种木糖衍生物,从安全性、功效性、稳定性和皮肤吸收率等多重角度进行评估,200+挑一,最后选出了抗衰王牌分子——玻色因。具体指的是由羟丙基四氢吡喃三醇、丙二醇和水组成的原料组,其中起到关键抗衰作用的成分是“羟丙基四氢吡喃三醇”,在原料组里的浓度约占30%以上。
玻色因能促进真皮层自行分泌GAGs,而GAGs能吸湿水分,不仅起到了防止肌肤水分散失的作用,还可以增加皮肤含水量。
当促进GAGs合成后,会间接增加真皮胶原产生,达到促进真皮修复、改善皮肤弹性和增加皮肤紧致度的作用。此外,玻色因可以作用于角质形成细胞,促进IL-10依赖细胞的迁移,总体来说也是有助于皮肤的修复。
除了通过促进GAGs的分泌,充分填满ECM间隙,减少皮肤皱纹、增加皮肤紧实度来抗老;玻色因还可以通过促进胶原蛋白的合成,改善皮肤弹性,预防皮肤老化。
玻色因以其强大的保湿、抗衰、修复功效,成为深受消费者推崇的王牌经典抗衰老成分之一,被运用到欧莱雅集团的整个产品线。同时由于欧莱雅品牌力的加持实现产品的双向赋能,为欧莱雅带来巨额回报。

据欧莱雅集团发布的财报数据显示,2022年前三季度营收增长20.5%,以超1970亿人民币的业绩,创下近十年的营收新高。而作为欧莱雅集团高端市场领头羊的HR赫莲娜,在今年迎来120周年之际,实现营收3.84亿,同比增长11.99%。
据统计,欧莱雅以27.9亿元的销售额占据天猫双11护肤品榜首。此外,无论是赫莲娜贵妇面霜黑绷带、修丽可AGE面霜,还是羽西鎏金面霜、科颜氏紫玻A面霜,亦或是欧莱雅新品20霜、黑金精华,在今年双11期间都为欧莱雅立下赫赫战功。
20年的专利垄断和持续不断的技术精进,欧莱雅进行了一系列专利布局以保护自身权益,分别从原料端和成品端构建起了“玻色因”的专利壁垒。
8月12日,欧莱雅首次公开了最新的独家配方技术——双渗透微泵技术,为自己的玻色因壁垒持续“添砖加瓦”。历经700多次配方试验,欧莱雅中国研发和创新中心基于中国消费者的护肤需求,专门为玻色因PRO开发了该配方技术。使用双渗透微泵技术的高浓度玻色因面霜,可实现的玻色因皮肤吸收率,比未使用的面霜高20.9倍,远超于原料本身的浓度倍数差。
无法取得欧莱雅玻色因的专利供应,国内市场也就出现了与玻色因核心成分相同的“璞瑞因”“普司林”、备注着羟丙基四氢吡喃三醇的“山毛榉紧致精华”,通过成分宣称将自己的产品对标欧莱雅玻色因。显然,在玻色因成分研发上,我国原料商并未坐以待毙。

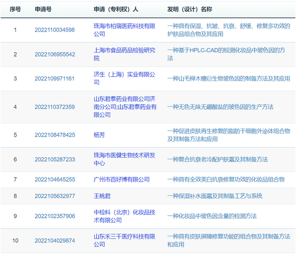
2020年起,一大批数量可观的合成玻色因的专利被申报到国家知识产权局。在原料合成方面,河北工业大学率先发力,于2021年15日向国家知识产权局提交了“一种合成玻色因的方法”的专利申请,该专利于今年7月12日被授权。
据了解,该发明专利的玻色因反应收率和产品纯度高,具有巨大的应用价值。

紧随其后的,是深圳瑞德林生物技术有限公司——一家以合成生物技术为核心,多学科交叉应用的创新型高新技术企业。其于2021年11月3日、4日一连提交了三项专利申请,分别为“一种通过酰化保护再还原合成玻色因的方法”“一种酶组合物及化学酶法合成玻色因的方法”“一种提高玻色因生物利用率的纳米乳制备方法”,三项专利于今年2月8日和25日分别被授权,这意味着我国企业在玻色因的绿色合成工艺上已实现崭新突破。
影响玻色因优劣的关键是在玻色因提取过程中,会产生乙酸盐产物的杂质,杂质越多,纯度越低,味道越酸,原液也越浑浊。
对此,专研医药原料、化妆品原料的山东君泰药业有限公司向国家知识产权局提交专利申请。其专利发明“一种无色无味无硼酸盐的玻色因的生产方法”,成功解决了玻色因生产过程中易产生的变色、酸味、硼酸和硼酸纳盐等技术难题,实现了国产玻色因高达99.96%的纯度以及70/30高活性异构体比例。
除了合成方法,中国企业围绕如何通过改进生产工艺提高产量和纯度;如何通过改进设备提高产量和纯度以及如何对玻色因原料的纯度、成品中玻色因的含量等诸多方面进行检测,均已经开始了专利布局,几乎已经涵盖从原料到成品再到检测的全链路。

最初,国内大部分原料源自海外,但在疫情期间,国内工厂和代理商面临部分原料断供等问题。另一方面,为打破一家独大的垄断局面,国内药企、原料商纷纷通过专利申请来抢占科研高地,自产原料已逐渐成为新共识。随着国内原料商的发展,未来国产原料发展将是从仿制到创新,从平替到超越的良性过程。
据言安堂研究院数据,2019年至2021年,宣称玻色因成分的产品数量3年复合增长率高达520.3%。
随着玻色因专利到期,市面上出现了不少高性价比的国产玻色因产品,放眼国内,已有MIXX、米蓓尔、米加、甘华露、修之妍、言之有物等本土品牌推出玻色因产品。

面对激烈竞争,有些品牌选择在玻色因原料端上下足功夫,作为打入玻色因赛道的第一步。
1、MIXX:国内共研专利 工艺革新后的“普司林”

MIXX是国内最早使用玻色因的品牌之一,主打抗初老的护肤理念。其在玻色因系列产品中,
使用的是与玻色因核心成分羟丙基四氢吡喃三醇相同的“普司林”,这是品牌联合国内药企共同研发的专利成分。
经过升级换代,MIXX对MIXX精华液中核心成分普司林进行工艺革新,产品中升级添加浓度为10%的玻色因,融入修护肌底黄金成分佛手参,复配添加羟基积雪草甙、积雪草叶提取物、马齿觅提取物,甘草酸二钾。改善皮肤干纹细纹,并有舒缓修护的功效。
而MIXX第三代小蓝瓶更新为15%高浓度>95%高纯度玻色因专利成分针对动态纹,同时添加多肽新贵——3%芋螺肽,针对静态纹。为了让玻色因和芋螺肽的渗透性更好,它采取的是硅油包水的体系,降低黏腻感。
2、甘华露:无色无味无硼酸 30%高纯度玻色因

还有前面提及拥有“一种无色无味无硼酸盐的玻色因的生产方法”国家专利的山东君泰药业有限公司,其旗下的产品甘华露玻色因原液舒缓精华液,突破了玻色因提纯技术瓶颈,真正做到无色无味无硼酸的30%高纯度玻色因。经检测,产品双峰玻色因与进口玻色因峰值一致,还通过了SGS测试未检测出硼酸和硼酸盐产物以及风险物质,且在功效检测中证实产品具有显著紧致、抗皱功效。

通过不断钻研玻色因工艺,目前国产做的较好的羟丙基四氢吡喃三醇和原版原料结构和分布上,可以说几无差异了。而在成品端,大多品牌选择在玻色因浓度和功效配比上做文章,30%的玻色因溶液浓度几乎成为平替产品的一个必备门槛。
欧莱雅中国研发和创新中心科学领域沟通副总监裘捷曾在公开场合表示:“玻色因在不同浓度可以发挥不同的生物学功效,如果只是需要实现保湿锁水的功效,非常低浓度的玻色因就可以了,继续提高浓度,可以去实现抗老功效,包括提高皮肤的紧致度、弹性度,减少皱纹等等。”
3、言之有物:50%高浓度的“卷王本王”

如果说,修之妍SEYEON的玻色因精华液41%的浓度宣称已经够卷,那么言之有物推出的玻色因胜肽精华霜可以说是“卷王本王”,其背后的贵妇品牌原班研发团队,曾参与主导过Lamer、小棕瓶等核心研发项目。产品核心成分玻色因拥有专利的脱酸技术,无论在颜色、气味、纯度、结构上都非常优秀,添加量更是加到50%。
功效配方针对静态皱纹、动态表情纹用到了四肽加持。信号肽——棕榈酰三肽-1+棕榈酰四肽-7刺激胶原蛋白表达改善静态纹;类肉毒素肽CP——乙酰基六肽-8+蛇毒肽抑制肌肉收缩信号,淡化预防动态纹,动静淡纹两相宜。这还不算,植物A醇(三叶鬼针草)可。另外乙酰基七肽-4和少量桃柁酚,可以调节皮肤表层菌群,平衡肌肤微生态。
可见,产品功效需要经过专业科研技术进行成分配比,并非由高浓度玻色因简单堆叠而来。无论是品牌宣称还是消费者购买,一味地追求高浓度,实非理智之选。
卷完浓度和功效配比,无硝烟的价格战也在爆发。
据笔者统计,欧莱雅玻色因产品均价在12元每毫升以上,其中宣称有30%的玻色因溶液浓度赫莲娜黑绷带,15ml的售价为1380元,平均每毫升高达92元。而国产玻色因产品均价在10元每毫升左右,修之妍SEYEON的玻色因精华液玻色因组含量高达41%,售价为90元/30ml,平均每毫升的价格仅3元。
虽然都叫玻色因,但产品从原料研发、成分配方、产品功效、感官体验,到营销推广、经销费用等差异,国内外玻色因定价差距之大其实情有可原。
因此,消费者面对不同价位的玻色因产品,还需在品牌其背书、研发实力、用户真实使用感上多做功课,以免“踩雷”。
近几年,国内企业通过专利研发技术、配方成分来形成差异化打法,可见其野心。
玻色因最初作为专利原料,欧莱雅最大限度发挥其优势以功效打入抗衰市场,开创抗衰赛道又一明星成分。随着专利壁垒的打开衍生出“国产玻色因”等关联产品,可以窥见国产玻色因+多肽+A醇的组合将会是未来抗衰产品的发展方向之一。
打开天猫搜索“玻色因”会出现成百上千个相关产品,在小红书搜索“玻色因面霜”关键词能收获3万+相关笔记。由欧莱雅开辟的玻色因之路,逐渐成为我国抗衰新风向,市面上更是出现了不少高性价比的国产玻色因产品。
然而,对于企业和品牌而言,光捕捉到市场风向还不够,还需在战略布局、标准制定和实际功效等方面做好功课。
1、把核心原料作为战略布局,而非热门跟风
国外美妆行业起步较早,长期的研发工作积累了大量的研究数据,奠定了研发基础。
在原料上,欧莱雅对玻色因的开发和功效持续构筑技术壁垒;
在配方设计上,以完整的实验数据来支持产品的开发,并不是简单的功效成分堆积;
在消费者端,重点针对皮肤组学以及消费者使用习惯方面的深入研究。
欧莱雅在原料创新、消费者洞察、皮肤问题的靶点,以及活性物的传输路径和作用方式上,均值得国内企业借鉴。
尽管很多人不看好成分“跟风”、“仿制”一说,但创新从某种角度来说,需从仿制开始。国家设置专利保护的背后,也是为了更多地激励个人和企业的发明创造,并非一味地模仿。
现阶段,国内企业持续发力抗衰领域,越来越多国产玻色因取得不错的成绩,然而市场上存在不少为“蹭热度”而诞生的玻色因产品,从另一种角度来看,是品牌对热门成分盲目跟风的体现。
为打造品牌可持续发展,国内企业应将核心原料作为战略布局,延伸至创新原料的开发。正如广州品域美创董事长、品赫创始人赵锟所说:“原料定位决定核心大单品定位,核心大单品决定品牌的持续竞争力。一个创新的功效原料就是品牌的规划战略,原料战略,产品战略,营销战略融为一体的。这是国际大牌,明星原料十年,二十年长盛不衰的逻辑。”
2、制定统一高规范标准,引导行业良性发展
一直以来,欧莱雅从未向社会公开发布玻色因原料的质量标准,国内玻色因行业还没有一个统一规范的标准可依循,导致下游终端生产商对玻色因原料的优劣无从评判,长久下去,必然会严重影响玻色因行业的健康良性发展。

据山东生物医学工程学会关于发布《化妆品用原料羟丙基四氢吡喃三醇》等三项团体标准的公告,由梅奥华卫携手国家药品监督管理局化妆品原料质量控制重点实验室发起的羟丙基四氢吡喃三醇(玻色因)团体质量标准,在全国团体标准信息平台正式发布实施。这是全球第一个公开的玻色因标准,并于2022年10月28日起实施。
“每家企业都按照自己的工艺技术水平,来制定自己的玻色因标准,造成市场上的玻色因产品质量良莠不齐,原料供应商无法提供科学验证来证明其产品的质量水平和安全性、有效性。”梅奥华卫是玻色因团体标准制定的发起人、组长单位,谈及团标的制定,其总经理王法平表示,一流企业做标准,要分享中国巨大的抗衰市场,中国的企业就要携起手来,高标准定位、高起点出发、高质量发展,才能不受制于人,打造出“大国品牌国货之光”。
3、戳破浓度的文字游戏,立足于实际功效
2016年,欧莱雅曾对玻色因含量为3%的薇姿面霜做了一次240人的临床试验,历时两个月,实验结果显示,参与实验人员的脸部下垂程度、皮肤光泽度、肤色均匀程度等指标均有所改善。
因此,业界普遍认为,玻色因的最低起效量在3%以上,而其中羟丙基四氢吡喃最低起效量为1%左右。然而玻色因赛道拓宽,不少国产玻色因开始玩文字游戏,打着“高浓度玻色因”的旗帜自诩“欧莱雅玻色因平替”。
例如,赫莲娜黑绷带表述的30%玻色因指的是“原料溶液的添加量”,说明一罐面霜中有3成是玻色因成分,其中实际有效成分——羟丙基四氢吡喃三醇占一罐面霜的9%。
而一些国产玻色因表述的30%玻色因指的是“玻色因精华组浓度”,简单点来说,产品玻色因溶液中玻色因只占30%,而玻色因溶液具体添加了多少,是否到达3%的起效浓度,消费者还未可知。
国产玻色因产品应更清晰的标明含量,以此巩固消费者对于国产玻色因的信心。
据了解,玻色因在不同浓度可以发挥不同的生物学功效,一味追求高浓度添加也仅有抗衰一种功效。因此品牌应细化消费者需求,从“浓度”拓展至“配方技术”、“品牌知名度”、“原料纯度”等多维度扩大产品矩阵,立足于实际功效,坚持品牌长远发展的同时打破消费者对“高浓度玻色因”的盲目追捧。
在国家和消费者的双重监管下,国产原料商和品牌方唯有坚持长期主义,专注科研、聚焦创新、不断精修内功,才能立足市场有一席之地。
目前,谈及玻色因,欧莱雅始终占据着消费者心智,在行业拥有较强的话语权。不过在科研力、技术力和品牌力的多方加持下,国产玻色因不断被消费者所认可,却依然打上了“平替”的标签。
如何撕掉“平替”标签,做出属于自己的特色,国货仍需努力。