国产文具真的处于躺赢状态么?
文|正解局
我们从小到大,从学习到工作,都离不开笔。
中国的文具市场非常庞大,像龙头老大晨光文具,主营年收入就高达上百亿。
国产文具真的处于躺赢状态么?
并不然。
最近几年,日本笔开始逐步风靡中国市场。炒日本笔的疯狂程度,一点也不亚于炒鞋市场。

最近几年,在我国许多城市,都可以看见大批日本品牌的文具店,悄然替代了晨光文具店,分布在各大中小学周围。
同时,MUJI、LOFT等销售日本文具的杂货店也入驻各大商场,成为吸引客流的亮点。
归根结底,就是因为我国学生越来越青睐日本笔,甚至把日本文具作为日常学习用品。
在知乎、小红书,随便一搜就是各大题主推荐日本文具的帖子,许多学生也公认日本文具更好用。
国产笔除了品控不稳定外,像晨光等品牌因为太喜欢模仿日系竞品,也一直被诟病。
比如说生产的可擦笔完全就是仿照百乐的样子;为了防止不掉珠仿制了百乐的针管型笔尖设计;按动系列产品则广泛仿制三菱UMN-105/152等后定位按动笔。
但无论是工艺还是样子,都比不过原版,结果就促使更多人买日本文具。

左边是百乐可擦笔,右边是晨光模仿百乐的可擦笔
当然,各种日本限定款也挖空了众多文具控的腰包。
只要自己喜欢,他们甚至可以花大价格购入文具。
譬如说曾经只卖10几元的一根的限定款,现如今在闲鱼上却是高价难求。
这些绝版笔要么是因为样式比较精致,要么就是因为有比较好的寓意。
譬如说斑马JJ15一代柯南限定款,就被认为能拥有好运并取得好成绩,所以价值不断增加。
而二代柯南一出,虽然售价比一代每根增加了几元钱,可还是迅速被抢空。
一些人囤在手里等待升值。
可以说炒日本笔的疯狂程度,一点也不亚于炒鞋市场。
数据显示,2020年我国进口圆珠笔数量第一的国家就是日本。

中国制笔行业主要产品进口来源排名前十的国家/地区
也就是说,中国每年从日本进口的圆珠笔,就高达1亿支。

日本笔在中国大受欢迎,是其在国际市场的缩影。
2010年以前,百乐、三菱、国誉等日本品牌主要的销售市场是本土市场,但是在2010年之后,随着日本经济衰退,他们逐渐开始挖掘海外市场。
根据日本经济产业省发布的数据显示,1997年至2002年间,日本文具零售店从最开始的2.1万家减少至1.6万家,数量减少了将近四分之一。
这种情况下,海外市场成了他们的新崛起点。
早在1954年,日本百乐笔业就已经开始在巴西开分公司,之后美国、德国、英国、新加坡等地都有其分公司。

日本百乐海外分公司开设情况
虽然我国为文具生产大国,但国际占有率和毛利率却根本比不过日本笔业。
以百乐和晨光为例,百乐的销售额其实是四大地区共同发力,而晨光却主要是依靠中国市场。
日本地区的营业收入只占百乐营业收入总额的40%,且这一比例还在不断减少,亚洲其他地区发展迅猛,营业收入从2011年的42.6亿日元发展到2018年的154.6亿日元。
晨光虽然营业收入高达1300多亿日元,但主要都是靠内销,中国市场比例高达90%。

百乐与晨光营业收入地区分布对比
近十年中,百乐各地区营业收入都比较稳定,但明显能看出亚洲市场占比越来越大。

百乐各地区营业收入

众所周知,多数汉字的笔画数都很多,加上中国学生学业压力大,所以对笔的需求非常大。
而日本笔最大的优势,就是书写非常流畅,并且因为不容易渗纸而广受好评。
很多人把这一现象称为是文具方面的“酷日本”。
在大家日常中,日本笔用起来流畅度更好,也更顺手,即便是摔了一下,也可以出水。
但是晨光、真彩等国产笔就不行,往往用到一半就没有缘由不再出水,相反百乐、三菱等品牌却可以用光。
同样写字,能看出日本笔更顺畅,中国中性笔明显逊色不少。

中日中性笔书写文字对比
对比三菱和国产中性笔写出的笔画,明显能看出国产笔溢墨现象很严重。

中日中性笔溢墨现象对比
同样水滴滴在纸上,能明显看出国产笔染料墨水溶水情况很严重,相反日本笔颜料却基本不太溶水。


中日中性笔对比
看似均价五六块的日本笔比两元的国产笔贵,但其实性价比更高。
而知乎@Dsdg 题主则从更专业的角度分析了日本笔比国产笔流畅的原因。
譬如三菱中性笔,之所以不会出现断墨、空心现象,就是因为笔尖的精确度更高。

三菱笔尖
国产笔如晨光的笔芯下墨量总是很大,其实是在下图的25处调大了出墨量,以掩盖其精确度的不足。

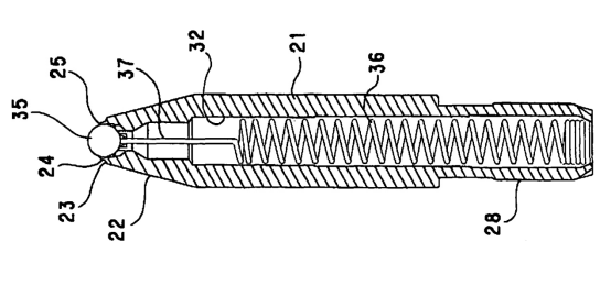
中性笔结构图
对比国产笔笔尖和日本笔笔尖,可以看出国产笔笔尖过于粗糙,滚珠和笔尖之间缝隙太大,结果导致还没书写,油墨就渗出。

圆珠笔笔尖
虽然国货笔价格更实惠,体验感也不差,但是比起日本笔,还是逊色一些。
同样情况下,日本笔的用户体验感更好,写出的字也更具有个人风格,这也是大家青睐日本笔的原因。
同时,随着日本手账文化在中国普及,日本文具给人感觉更精致、唯美。
尤其是日本笔各种各样的联名款,让人爱不释手。
在美这方面,日本笔总是能做到极致。
有满足喜欢卡通动漫的可爱风联名款。

斑马哆啦A梦联名款
也有满足少女心的唯美联名款。

斑马公主系列限定款
即便是工业风,简单的白黑两色也能给人视觉满足。

斑马三合一笔
虽然晨光这几年也在效仿日本笔出一些联名款,但是工艺、手感明显逊色太多。

其实日本文具发展好,日本笔做得更精致,是因为日本文具产业起步非常早。
早在1900年,日本知名的文具三菱、斑马就已经成立,虽然百乐在1918年才成立,但距今也有100多年的历史。
我国的私营文具生产企业,在上个世纪70年代末才开始起步,对比之下,晚了足足七八十年。
日本几家知名企业,为了可以立足发展,始终坚持创新和进步。
世界上第一支中性笔是日本樱花推出的,而名称则是日本派通第一次叫的。
可以说,日本是中性笔的起源。
虽然日本钢笔生不逢时,最经典的系列capless是1962年诞生的,那时候已经错过了钢笔的辉煌期,但这个系列,直到今天仍被许多钢笔爱好者推崇,限定款价格也是不断高涨。
之后,伴随着日本“手账文化”的发展,日本人对于文具有了更高的需求,对笔也开始拓展出更多维度的使用场景。
因为巨大的需求,促使日本文具商制造笔的时候,不仅仅思考如何卖出去,同时还考虑如何做好,从使用者的角度出发,兼顾设计性和耐用性。
日本很多产品,包括日本的笔,都能体现一种“把东西做好”的精神。
20世纪末,日本经济不断衰退,企业竞争更加激烈。
在这种情况下,日本各大文具企业压力很大,不得不更加努力进步发展。
譬如说百乐,基本上每隔一段时间,就会有大的变化和创新。

百乐历年新产品呈现不同设计与优化升级
三菱在笔方面的黑科技最值得一提的,就是笔尖弧形打磨技术,简单来说,就是通过打磨笔尖边缘的弧角,来减小摩擦力。
看似毫无技术难度的工艺,全世界却只有三菱一家可以做到这种精密程度。


三菱对比自己产品,不同笔尖书写程度差异
三菱为了能够达到现在的水平,制造出让同行只能仰视而无法超越的黑科技,足足用了四十年。
可以说,日本但凡有点名气的文具企业,为了能有立足行业的资本,都花了大量资本和时间打磨。
百乐为了让自己的产品可以不断升级,每年投入研发金额高达13亿日元左右(约人民币8000万元)。
当然,百乐并没有白投入,虽然晨光卖得多,可实际上百乐的毛利率要远远高于晨光。

晨光与百乐毛利率的对比
除此之外,为了让日本文具业蓬勃发展,从2013年开始,日本文具界创立了日本文具大赏,邀请文具店售货员,根据设计、性能、创意等标准,从上千件参赛作品中,严格挑选出当年度的“精彩之作”,以此作为文具控们购买的风向标。
每年能得到日本文具大赏认可的文具,根本不愁卖。
某种意义上,日本笔能够领先一步,是“内卷”造成的。
适当地“内卷”,是有助于促进企业竞争,倒逼行业进步的。
反观中国,中国文具企业之所以干不过日本,一方面,是因为起步晚,另一方面,是不需要干过。
简单地说,就是国内市场太大,制造质量“差不多”的文具,就能活得很好了。
搞创新,费脑筋,要花钱,有风险,实在没这个必要。
然而,从最近几年的营业收入看,中国制笔行业规模以上企业营业收入呈下降趋势。

中国制笔行业规模以上企业营业收入统计 资料来源:中国制笔协会、智研咨询整理
市场规模缩小,意味着整个行业也开始“内卷”了。
另一方面,近年来,随着国内消费市场日趋成熟,中国市场对于中高端笔类产品的需求不断提高。
日本笔的悄然风靡,就是一大例证。
中国文具企业,应该研发更优质的文具。
这是企业自身发展的需要,也是国内市场的呼唤。