“袁绍强盛,以少从之,必不以我为重。曹公众弱,其得我必喜。”
文|财经琦观
官渡之战前夕,贾诩劝张绣投奔曹操,其中有一条重要的理由可以对应到今日。
“袁绍强盛,以少从之,必不以我为重。曹公众弱,其得我必喜。”
腾讯是袁绍。字节跳动是曹公。至于张绣这个角色,自然就是喜马拉雅。
官渡,即在线音频。

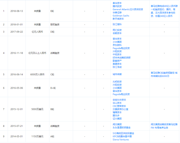
眼下,关于在线音频的市场格局,我们可以用上面这张图来讲述。
喜马拉雅所占据的位置,是左边的灰色大圆,知识付费,名人变现,IP有声读物这三大类别,都在摸索探寻中。
但IP有声读物这一类别中,腾讯音乐在迅速发力,并占据着绝对的优势地位。
这里的优势地位不仅仅是指阅文集团的IP累积,还有财力的储备。
2019年底,喜马拉雅推出了《三体》广播剧的第一季,据称耗资达千万级。
对腾讯来说,这样的投资量级根本不在话下,然而这对本就盈利困难的平台方,更是雪上加霜。
某种意义上,该领域的竞争就是在复刻长视频领域所发生的一切。
而知识付费领域则有罗振宇的“得到”专职把守,在众人的嘲笑中,这家公司倒是扎了进去,形成了厚重的围墙。
根本不用理会外界“贩卖焦虑”的指责,反而形成了强有力的社群凝聚。
随着时间的推移,IP有声读物很有可能不断膨胀,进而吞噬掉整个左边的圆。
在这个过程中,腾讯或将成为最大赢家。
至于右边的圆则是一个相对新鲜的领域,远不及PGC业态模式的成熟,仍有大量的游戏规则和场景生态需要被定义。
早在2015年,喜马拉雅曾尝试推出过一个名为“懒人电台”的功能。

先给用户推荐20个不同的电台,可以对电台关注或删除。
然后利用大数据智能匹配,进行个性化推荐电台。
这样一个看似简单的功能,背后需要强大的AI算法作为支撑才可能真正有效,但实际运行效果并不佳,喜马拉雅也很快将该功能下架取消。
目前,无论是“荔枝播客”还是“小宇宙”,尽管二者在口碑方面已经收获了不错的评价,但在算法推荐这一维度上,还是相当原始,即编辑推荐+头部内容。
其内容匹配依然极大依赖于初次登录时所选取的大类别(情感、财经等),并且根据完播率和评论次数,统一推送优质的头部内容。
在初期,这样的内容匹配机制或许没什么问题。
但随着时间的推移,用户终将会再一次面临内容的无感和主动筛选无力的痛点,届时算法匹配将快速膨胀并吞噬整个右侧领域,乃至对左侧领域构成极大的空间挤占。
如今,在喜马拉雅的带领下,整个在线音频行业都呈现出了一种“重运营,轻产品”的倾向,而播客领域中则出现了产品逆袭的苗头。
若字节跳动想在此发力,则同样需要在产品的维度上打开突破口。
对喜马拉雅而言,一方面二级市场的低靡和竞争预期,使得自身在PGC领域的价值并不能被很好地认可,另一方面来自早期投资人的压力又使得自己不得不考虑及早上市,进而正处于一种进退维谷的痛苦之中。
在喜马拉雅创始人余建军的早年创业经历中,也有过“学成文武艺,卖给BAT”的故事。
百度地图的实景导航,就是余建军的团队所帮助完成的,并且最终团队也是被百度所收购。
如今,面对磨刀霍霍的腾讯集团和自己全然不擅长的算法推荐,喜马拉雅寄情于未来的美梦也在被不断压缩,趁着行业老大的虚名还在,卖个好价钱,实属明智之举。
对字节跳动而言,拿下喜马拉雅,于攻,可迅速占领在线音频的用户心智,完善自己的大文娱战略。
于战,可扼制腾讯在内容“上下游,文视音”的全面盘踞。
于守,一则可免除腾讯把守有声读物的音频入口,以扼制自己番茄文学的发展。
二则,当抖音的多巴胺故事讲到头时,能向其发起总攻的,很有可能就是情感联结。
某种程度而言,音频内容是比短视频门槛更低,黏性更高的存在,只是在用户生态方面没能很好地搭建起来。
目前,整个音频消费市场的人群,还有100%以上的增长空间。
这还不提AIoT全面发展之后,音频的又一波潜力。
这样巨大的增量过程中,没人知道会发生什么事。
但字节跳动要知道,这个未知的东西,将发生在自己的主场。
近日,喜马拉雅又一次否定了上市传闻。
3月9日有消息称,喜马拉雅FM计划赴美IPO,拟募资至多10亿美元。
紧接着当天官方就给出了回应:“目前未有明确上市计划”。
这不禁让人想起三年前。
自2018年5月份起,短短三个月时间里,喜马拉雅先后五次被传出上市新闻,然后官方五次下场辟谣否定。
在当时,比较主流的猜测有两个。
“还处于上市前的缄默期。”
“创始人和股东之间有分歧。”
如今,时间已证伪了猜测一。
2012年,证大集团的董事长戴志康坐在台下,听眼前这个年轻人讲述“音频版淘宝”的故事。
这不是第一次听余建军做项目报告了。
三年前,这个年轻人给他画的饼叫“那里世界”。说是准备用VR技术,结合人物化身和视频,做一个巨大的虚拟网络平台。
戴志康给投了两千万,还被对方“拐”走了自己的助理陈小雨。
三年后,80个人的团队走的只剩下了7个。
余建军至暗时刻下,终于瞄上了音频。
可证大集团不再相信他。
宣讲会上,有人直接在戴志康身边耳语:“你看这个人,忽悠了你两千万没干成,现在又来忽悠第二笔。”
戴志康没说话,以个人名义拿出了1500万,抓到了这只独角兽。
时间来到2018年。
关于上市的五次否定中,第三次“谣言”来自戴志康本人。
5月25日,在私享桥主办的中国新时代企业家论坛上,戴志康对外宣称,喜马拉雅FM的估值已经到达了200亿,明年将在A股上市。
随后被喜马拉雅回应“不属实”。
怎么能不着急呢。
2019年9月,这位福布斯富豪榜上的人物,在P2P暴雷潮中难以自保,最终向警方自首,由上海浦东分局立案侦查,并依法采取刑事强制措施,查封相关涉案资产,时称“证大案”。
金融案件,我们相信法律,按下不提。
抛开戴志康,喜马拉雅的九轮融资中投资者云集,不乏腾讯、小米、京东数科、好未来这样的互联网企业,同时也包括普华、张江、歌斐这样的专业投资。

直到今天,喜马拉雅创立已八年有余,于情于理,都该给投资方一个退出的机会。上市,自然就成了多方势力所期盼的结果。
可从喜马拉雅这边来看,确实是有苦难说。
2018年,戴志康喊话“喜马拉雅估值200亿”。
2020年8月,《苏州高新区·2020胡润全球独角兽榜》中,喜马拉雅的估值还是200亿。
创始人团队的心理价位在哪里我们无从得知,但一定比这个更高。
可现实是什么?
2020年1月,荔枝(原荔枝FM)熬不住持续的亏损,登陆纳斯达克,以11.63美元的价格在美国上市。
随后,就开始了长达一年的跌跌不休,市值一度缩水60%,如今在5美元左右徘徊。
前不久,马斯克一句“来Clubhouse找我玩”强势点燃了音频社交的赛道,引得荔枝四天就暴涨了340%。
但热度退去,荔枝又一次跌了回来,仿佛一切都没有发生过。
二级投资市场对待在线音频这一领域的企业,可以用一句话概括:
“看好赛道,不看好企业。”
看看艾瑞咨询的数据,2020年中国网络音频相应市场规模有望超270亿元,用户规模预计达5.4亿。其中,七成受访用户愿意付费。
兴奋,买入。
再凑近了看看企业情况:业态单一,增长缓慢,营收支柱乏力,用户忠诚度弱。
简直是不堪入目。
目前,荔枝的市值为3亿美元,喜马拉雅要想维持200亿人民币的估值,起码要拿到十倍于荔枝的市值。
关于此,我们可以从各个维度来比较。
首先来看行业地位。
而根据《2019中国网络视听发展研究报告》显示:网络音频市场格局目形成“一超多强”的态势,喜马拉雅用户渗透率为62.8%,牢牢占据第一梯队。
荔枝、蜻蜓FM等居第二梯队,用户渗透率为33.5%。
月活方面,根据艾媒北极星数据,2021年1月,而荔枝的月活人数是5140.1万,喜马拉雅FM月活为7221.6万,难谈十倍优势。
(另有易观千帆的《2020年音频泛知识付费市场分析报告》数据,2020年11月喜马拉雅月活为1.13亿,荔枝则不到两千万。按正常操作列出最近时期数据即可,但二者差异过大,故补充本信息)

业务方面,二者最大的区别在于荔枝是UGC(用户生产内容),而喜马拉雅则采用了PGC为主的运作模式。
前者的营收主要靠直播收入和用户打赏,优势是成本低,生态繁荣,有机会形成规模效应,模板可以试想B站。
后者的收入则主要依赖会员付费,走的是高价高质路线,模板可以对标优爱腾。
行业地位,数据,模式我们且摆在这。
眼下的喜马拉雅比荔枝强出很多这是公认的,但想要强出十倍的差距并体现在市值上,恐怕很难。
在关起门来闷头做在线音频平台的这个圈子里,活下来的就这三家:喜马拉雅、蜻蜓、荔枝。
当年吵吵闹闹的多听FM、考拉FM、凤凰FM等诸多平台,也已经各自转型或销声匿迹。
2016年左右,“慢热”的音频行业终究没能热起来。
商业化困境与版权乱象的压迫下,众多小体量的音频平台处境开始泥沙俱下,而头部几家音频平台纷纷“异变”,直接导致了其后几年差异化的平台内容。
喜马拉雅凑的是“知识付费”的东风。以“123知识狂欢节”为代表,试图通过知识付费拓展商业模式。
“荔枝FM”做的则是去“FM”(调频电台)化,以语音直播为切入点,并邀请刘涛、杨幂、金士杰等明星做客语音直播。
蜻蜓FM则在保有电台直播的基础上,同样入局“知识付费”行业,还与掌阅科技、酷听听书等达成战略合作,但变现成果一般。
如今,知识付费的风口也落了,喜马拉雅的“123知识狂欢节”也随之拿掉了知识这两个字,改成了内容消费节。
虽然三位在行业中已深耕多年,但仔细观察其历史不难发现,大多数时间都用来“探索”,在知识付费、直播等数次风口中起落,而没有形成自己既有的战略路径和行业壁垒。
由于商业模式难以走通,且经营难度不小,在线音频很长一段时间都是互联网行业中的“鸡肋”。
食之无味,弃之可惜。
据艾瑞咨询数据,2018年音乐、游戏、在线视频的移动互联网用户渗透率已分别达到89%、82%、74%,而在线音频市场的渗透率仅为45.5%。
一方面体现了该类产品在争夺用户时间战场上的全面落败,但另一方面也体现了极大的仍未兑现的增长潜力。
随着互联网行业大背景进入存量时代,流量的见顶开始体现在各个领域当中。
此时,在线音频的战略地位开始凸显出来。
喜马拉雅们还在“探索”行之有效的商业模式,而巨鳄们已奋勇冲下,激起了令人恐惧的浪花。
2020年3月,中央广播电视总台旗下的综合性声音集成分发平台“云听”正式上线,该平台由原“中国广播”客户端升级改造而成,目标成为“基于移动互联网的全球最大声音集成分发平台”。
4月,腾讯音乐宣布将长音频战略作为未来重点,并将酷我音乐作为其发展长音频的主阵地,推出了全声态音频平台“酷我畅听”。
6月,字节跳动依托于番茄小说上线了“番茄畅听”,将番茄小说中的正版小说以音频形式播放出来。
我听人说,互联网行业里,凡是到处跟人打架的,最后都越打越大。
凡是想固守一隅,保持“小确幸”的,最后都会被人打死,或伴随其所在垂类一同消亡。
常年关注本行业的同学,应该都会同意这一现象观察。
对此,我个人的理解是互联网行业发展过于迅猛,在这一过程中会存在两个现象。
第一,由于发展太快,大量的确实存在价值的商业模式,会如同蜉蝣般速生速死。
比如开心网,天涯论坛等。
你可以固守,也可以在一个时间段内很强,但当大家都在向一个更大的世界成长的时候你没有跟,你就会留在那,慢慢被人们遗忘。
第二,由于发展时间太短,互联网圈中其实并不存在什么所谓的“细分”。
说白了,无非就是广告生意,内容生意,电商生意,再加半个金融生意。
其中,内容产生流量,流量带来电商,电商又需要广告,三者的相通之处又使得绝大多数企业在扎根其发家优势之后,本能地想要向其他领域进发。
在这样的背景下,互相攻伐得就很厉害。
而行业的多变和迅速,使得偏安一隅者无法真正积累起足够高的壁垒优势,反而会被对方的综合优势所迅速打垮。
眼下,音频行业的“鸡肋”属性并没有变。
但由于各个领域中“肉”都变成了“骨头”,那么这块过去看不上眼的“鸡肋”也就随之变得肥美起来。
上文提及了“巨鳄下水”,但没有详细对比几个巨鳄之间的战争。
事实上,腾讯对长音频的发力是超出所有人的。
早在2019年,QQ音乐就开辟出了“听书”板块,引入《庆余年》《盗墓笔记》等原著IP有声小说,酷狗音乐也随之推出了酷狗电台。
随后,以“酷我畅听”的推出为标志,意味着腾讯音乐正式开启了长音频的战略重点。
2021年初,腾讯音乐更是直接出手收购了在长音频领域常年排名第二的懒人听书,以27亿元收购懒人听书100%股权,该交易预计将在2021年上半年完成。
除此之外,腾讯还有帮手。
子公司阅文集团的IP厚度自不必说,在长音频领域,除了成立自己的听书品牌之外,阅文还在2015年就早早投资了喜马拉雅。
另一边,腾讯作为最大股东的B站也在此领域布局,收购了音频平台猫耳FM之外,还划分了专门的音频分区。
反观字节跳动,一个番茄听书,没了。
我毫不怀疑,在盘点长音频强敌环伺的格局中,人们把字节跳动进来讨论就是凑数的。
对字节跳动而言,“番茄畅听”只是其文学IP的顺延。
配套做一个听书,是文学布局的补充,也是用户需求的倒逼。
就投入程度而言,这对“App工厂”根本不值一提。
我认为,字节跳动严重低估了音频内容的商业价值。
根据艾瑞资讯的数据,2015-2020年,中国网络音频行业市场规模从12亿元增长到272.4亿元,2019年、2020年的市场规模增幅均在50%以上。
疫情的影响下,音频市场的发展更是迅猛。
据艾媒咨询11月9日发布的音频报告显示,2020年在线音频用户量预计达到5.4亿。同时据QuestMobile数据显示,2020年6月在线音频月均使用时长为600分钟,同比增长75.4%。
据前瞻产业研究院统计数据显示,预计2018至2023年,我国在线音频用户数量的年均复合增速为19.0%,预计2020年中国在线音频用户规模将达到6.18亿人,2023年将突破9亿人。
人们都说,未来的所有商业,都将面临一个共同的难题:抢夺用户有效时间的“时间战场”。
而音频基于其独特的伴随式推送,使得时间战场平空多出来一大块。
美国的咨询机构Prophet调研数据显示,一个成年人每天可以花费的时间是31.5个小时,正是因为陪伴作用,商家们甚至可以在一天内,有超过24个小时的时间来占领。
其次,从字节跳动自身出发,其核心能力在于“内容分发”。
今日头条,是文字的内容分发。
抖音,是视频的内容分发。
互联网中,三大内容载体字节跳动已经占据了俩,还有一个,就是音频。
现如今,整个行业都被喜马拉雅们带偏了,所有人的重点都放在了版权、内容、专辑的运营上,但却忽略了内容分发的痛点。
我个人是音频内容的重度用户,在收音机时代就着迷于这种内容方式,并在PC时代沉溺于“邻居的耳朵”。
但眼下我打开喜马拉雅们的频次却越来越少。
一位同样热爱音频内容的老先生抱怨:“喜马拉雅太过商业化了。界面过于花哨,有很多弹出式广告,各种推荐、排行。”
“人泡在上面,有如闯入低端小商品批发市场,乍一看琳琅满目,但你休想找到要找的东西,个人想做的操作,则根本不知从哪儿下手,好不容易搜出来的播客却不知从哪儿订阅,订阅过的又不知到哪里找,无所适从。”
此外,在极度依赖会员付费的商业导向下,喜马拉雅们的关键推荐位上摆放的都是精致的成套专辑。
撇开付费门槛不谈,单是几十集的成套内容,就让人打开时有很大的心理压力。
潜意识中,用户认为这有可能会是一个“几百个小时”的契约,挑选成本极大。

这些都是内容分发的痛点,同时也是字节跳动最擅长发力的领域。
事实上,在长音频行业的发展初期,直到2015年懒人听书还凭借着垂直的有声阅读稳稳地坐着行业第一的宝座。
但彼时的喜马拉雅,正是凭借着丰富无边界的内容迅速崛起,以综合平台的身份逆袭懒人听书,拿下了长音频赛道的第一。
时过境迁,兜兜转转的喜马拉雅竟又回到了精品化的PGC领域里。
阿里“杀”淘宝(小商家),淘宝“升”天猫,淘宝“生”拼多多的故事,似乎又将在音频平台复现。
在长期的发展过程中,UGC的缺点在喜马拉雅上依次闪过,版权问题,监管问题,背叛平台的可能,以及增收效果弱。
种种原因叠加下,以播客群体为主的UGC内容彻底被喜马拉雅冷落。
一位播客主曾对媒体这样形容自己与喜马拉雅之间的关联:“我们和平台的关系就是借贵地一用,我们不配和他们有关系。”
在音频内容的领域中,无论是内容生产者还是内容消费者,目前都没能彻底得到满足。
这是一片难得的蓝海。
关于音频的魅力,美国社会学家伦纳德·杜布,在其研究报告《非洲的传播》中,谈到这么一位非洲土著:
虽然一句话也听不懂,这个人却费尽心思每晚必听 BBC 的新闻节目。每晚七点准时听见那些声音,对他是至关重要的。他对言语的态度,正像我们对旋律的态度——铿锵悦耳的语调本身就很有意思。
与眼睛相比,耳朵是封闭的,排他的,感性的。
体现在产品上,那就是沉浸式、陪伴式、高情感介入的内容模式。
短视频可以迅速激发起多巴胺的分泌,以饱和式的新鲜感不断刺激用户,诱使其不断进入下一个未知的刺激。
但另一方面,短视频作为速朽内容,很难满足用户的情感需求,反而会在刷完之后,会产生一种巨大的空虚。
音频则全然相反。
日本学者东浩纪认为,我们当下正在迅速进入一个没有“他者”的充足社会。
在他看来,后现代的人类已经无法经由社交来满足对于“意义”的渴望,反而因为还原到动物性的需求而充满孤独。
在这样的时代里,陪伴的需求远超出人们的想象,而音频内容,正是可以肩负起这样的抚慰作用。

眼下,音频市场的供应端可分为两大块,一块以喜马拉雅为代表,即专业的音频团队,主要类型包括IP有声读物,知识付费和名人变现,均是高成本重资产的运作模式,目前该团队围绕此类业务已经相对成熟。
另一块则是抖音的“音频版”。
每个人都可以成为播客,每个人也都可以在这一平台上找到情感的寄托与联结。
疫情以来,从学生到白领,人人都居家隔离,大量的“现充”被迫接受人与人、人与社会之间的疏离。
进一步加剧了由疫情引发的社会性焦虑,而播客们也迎来了一个难得的黄金期。
艾媒咨询数据显示,55.0%的播客用户表示与去年同期相比,今年收听播客的时长增加了,同时35.2%的用户表示与去年同期持平。
在线音频用户中,81.3%收听过播客,在在线音频用户中渗透率较高。
今年1月,荔枝上线中文播客软件“荔枝播客”,重点发力播客业务。
3月,即刻团队推出“小宇宙”,并广受音频爱好者好评。
9月,快手的播客产品“皮艇”正式下水。
而截至目前,字节跳动依然毫无动静。