虽然近几日票房逐渐缩水,但是对于已经接近49亿的《战狼2》来说,创造50亿的票房记录只是时间问题。
图片来源:视觉中国
文/年华
虽然近几日票房逐渐缩水,但是对于已经接近49亿的《战狼2》来说,创造50亿的票房记录只是时间问题。
在《战狼2》票房持续上涨期间,为其保底8亿的上市公司北京文化已经经历了一轮暴涨。不难发现,这两年来市场上还敢持续为影片开高价保底并且还屡战屡胜的公司,似乎只剩下北京文化一家。在去年8亿保底《战狼2》之后,又马不停蹄5亿保底《二代妖精》(原名:《一代妖精》)。
北京文化为什么有这么大的底气?这离不开其背后的财主——富德生命人寿保险股份有限公司(下称富德生命人寿)。
2014年末,富德生命人寿认购了北京文化非公开发行1.52亿股,持股比例达20.38%,成为公司当时的第一大股东,而目前其为北京文化的第二大股东。实际上,北京文化现任董事长宋歌便曾是富德生命人寿旗下厚德前海基金的管理人。
富德生命人寿是谁?对于影视圈的人来说,这个名字并不熟悉。不过,如果壹娱观察(微信ID:yiyuguancha)告诉你,其目前是金地集团流通股最大股东,曾经耗资600多亿连续举牌浦发银行成为其名义上的第一大股东,还曾是贵州茅台流通股第四大股东以及众多国有银行的前十大股东,你对这个公司是不是要另眼相看了?
富德生命人寿公司注册资本117.52亿元,总资产近4500亿元,2017年上半年保费收入超过600亿人民币。富德生命人寿的母公司富德集团发迹于深圳,目前其旗下不仅有众多金融企业,还涉足地产、矿业、资管等业务,但是其实际控制人张骏却较为低调,网上照片都难以寻觅,早年就有传闻这位大佬个人财富超过800亿港元。

近两年来,文化体育界成为了富德集团资本渗透的主要方向之一,最为典型的除了入股北京文化,就是2015年以5年10个亿的价格,拥有延边长白山俱乐部70%股份。随后俱乐部更名为“延边富德足球俱乐部有限公司”,这就是目前征战中超的“延边富德”。
实际上,在影视圈,富德生命人寿不仅是北京文化的第二大股东,与北京文化经常合作的工夫影业和聚合影联,背后与富德生命人寿的关系也异常密切。
工夫影业的股东中,有一家叫重庆水木诚德文化股权投资基金合伙企业,这家公司也曾经是聚合影联的股东;水木诚德的股东又分别是重庆水木庆华股权投资基金合伙企业、深圳市厚德前海古钱投资基金合伙企业与重庆水木兴华股权投资基金管理有限公司,而这三家公司都是富德生命人寿的子公司。

除了电影《战狼2》,近期大火的网剧《河神》,联合出品方中不仅有工夫影业,还有南京摩影盒文化传媒有限公司投资的无锡摩影盒文化传媒有限公司,而南京摩影盒的股东又是重庆水木诚德文化股权投资合伙企业。
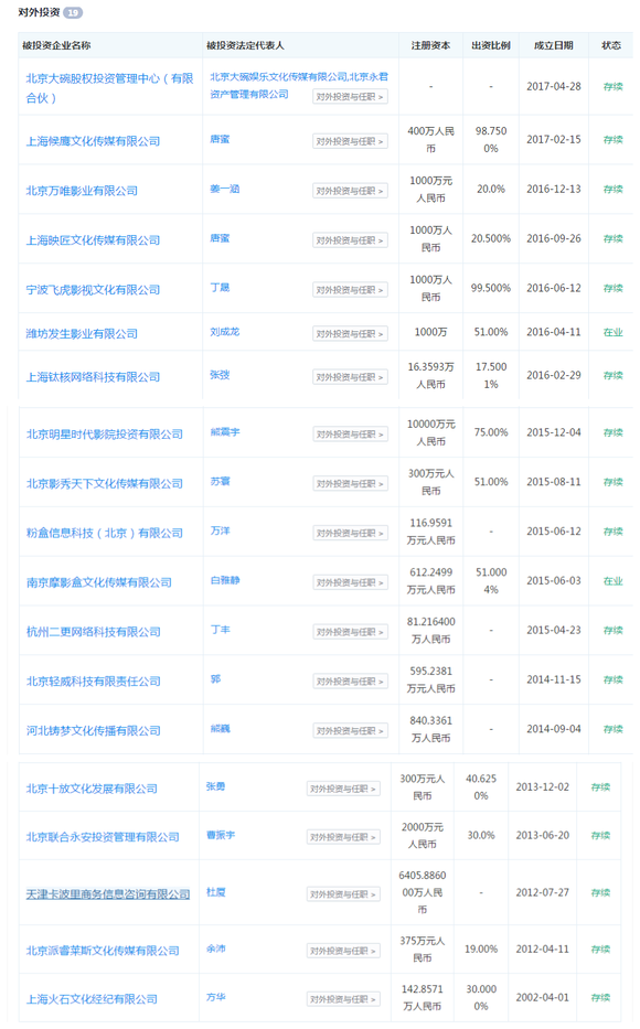
除了北京文化、聚合影联、摩影盒文化,“富德系”的水木诚德还投资了大量的文化影视公司,包括幕影幽歌影业有限公司、北京万唯影业有限公司、上海候鹰文化传媒有限公司、上海映匠文化传媒有限公司、宁波飞虎影视文化有限公司,北京派睿莱斯文化传媒有限公司、北京影秀天下文化传媒有限公司、潍坊发生影业有限公司等等。

而通过投资这些公司,“富德系”已经形成了对影视全产业链的投资脉络。世纪伙伴主攻电视剧版块;星河文化主攻艺人业务;摩天轮文化传媒主攻电影、综艺;工夫影业在尝试从网剧方面等网络影视方面发展;发生影业是一家以年轻团队为主的编剧公司——这种从剧本、拍摄、制作、发行全流程的控制,利用资本将优质资源进行了整合,从而形成以电影、电视剧、综艺、网络影视、艺人经纪协同发展的全产业链布局。
不过,在大举进入影视圈之时,原“富德系”的实际控制人张骏2016年曾被带走调查,半年后被爆返回家中,现在行踪仍然扑朔迷离,坊间传闻不断。
在张骏被带走后,保监会入驻富德生命人寿。尔后在保险业的风险综合评级上,富德生命人寿也被评为最低的D档。在今年上半年,富德生命人寿巨亏29亿元,成为行业利润倒数第一,净资产缩水到120亿元;而今年公布的富德生命人寿第二季度偿付能力报告中,其综合偿付能力充足率从去年年底的108%降到104%,已经接近100%的红线,且富德生命人寿目前仍然未收到2016年第四季度以及2017年第一季度监管的评级结果。
虽然“富德系”实力雄厚,但是对于富德生命人寿来说,《战狼2》的大获成功,可以说是公司最近唯一的好消息了。不过,作为北京文化第二大股东的富德生命人寿,最终能从中获利多少,现在仍然不得而知,但是《战狼2》的票房成绩,或许会推动在影视圈雄心勃勃的“富德系”,继续在业内大举收购与布局。