企业更换logo已不足为奇,但是企业在品牌升级的同时亦要做好知识产权保护。
不知道大家有没有留意,匡威最近又换了一个新LOGO,也许你已经注意到了但没有意识到它是新LOGO。这是因为重新设计的新LOGO是从匡威原有的品牌中提取而来的,并且这些视觉元素已经停留在人们的脑海里。

目前,匡威的新LOGO已经在一些营销材料和官方网站中开始使用,预计将花费一年多的时间才能进行全部的新旧更替。这个LOGO以后将作为匡威公司的形象标志,而其产品的相关LOGO将保持不变。

企业更换logo早已喜闻乐见,不少企业甚至用更换logo作为企业升级的象征。今天,专注鱼就为您带来最近一年更换品牌logo的本土知名企业大盘点。

2016年1月12日,乐视在其全球品牌升级发布会上宣布,乐视网正式更名为乐视视频,发布全新品牌 logo,并启用价值千万美金的国际顶级域名 le.com。全新 logo和之前报告的基本一致,由“LE”四个颜色的笔划构成,代表着乐视生态中的四层架构:平台、终端、应用。同时,“LE”Logo 还将同步替代乐视旗下生态中“LETV”的 logo 标识。
乐视新logo未正式面世前,乐视就提前将新的logo作为商标提交注册申请,这也是乐视出于对新logo进行系统保护的考虑。

2016年2月1日,好搜搜索更名为360搜索,域名也从“haosou.com”,切换为更易记忆、更易输入的“so.com”,logo 也同一时间进行了更换。同时广告语也由之前的“好搜,不做坏事”改为“360搜索,SO 靠谱”。
改名之前的一个星期,360就将“360搜索”、”360搜索 SO.COM”等进行了商标注册。


2016年3月24日,腾讯云正式对外推出全新腾讯云品牌 logo 形象及价值理念,并发布“云+CDN”、“黑石-混合云 plus”全新升级产品,同时宣布了腾讯云出海计划。
专注鱼在中国商标网上查询发现,腾讯科技(深圳)有限公司在2016年1月20日将全新的logo提交了注册申请,还是采取的多类注册,“产品未动,商标先行”,作为知识产权大户,腾讯深谙此理。


2016年4月6日,国美在线换上全新的 logo。至此,电商网站猫(天猫)、狗(京东)、狮(苏宁易购)、虎(国美在线)齐聚。同时这也是自2013年国美电器宣布去“电器”化后最大的一次品牌升级。
国美在线则堪比品牌保护的典范,专注鱼在中华商标网上查询了解到,在新品牌上线前的4月1日,国美在线就将新品牌的图案和图案+字母进行了全品类保护,注意是全类注册哦。果然有钱就是任性,不过无论有没有钱,知识产权保护也要做起来啊~·

(国美新logo部分注册资料)

2016年7月12日,饿了么在五棵松 Hi Park 宣布前美国职业篮球运动员科比·布莱恩特与王祖蓝一起成为品牌代言人。随后,饿了么创始人张旭豪宣布,饿了么 logo 正式换新。从现场展示的图片来看,新 logo 采用极简风格,简化结构,去除边框,字体采用圆角处理。招牌的 e 字型图案采用黄金分割比例,倾斜57度,应和谐音“我吃”。
专注鱼通过查询发现,饿了么所属拉扎斯网络科技(上海)有限公司早在5月23日将新logo“饿了么E”提交了注册申请。不过专注鱼认为大企业最好是采取商标全类注册的保护方式,以免因其他企业抢注其他类别导致企业形象受损。



阿里巴巴集团去年10月27日宣布,将旗下旅行品牌“阿里旅行”升级为全新品牌“飞猪”,英文名“Fliggy”。品牌 slogan 也由之前的“世界触手可行”变更为“比梦想走更远”。阿里巴巴 CMO 董本洪在芬兰北极圈内发布会现场阐释了品牌升级初衷和愿景,并与飞猪总裁李少华、飞猪消费者代表、飞猪芬兰服务站小二代表一起为新品牌揭幕。
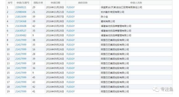
作为国内互联网两级之一的A,阿里巴巴早在新品牌名称更换之前一个月就将英文名“Fliggy”进行了注册,但是中文名称“飞猪”则迟至10月10日才开始申请。但奇怪的是,相比于阿里在“阿里巴巴”方面的全家(阿里爷爷、阿里奶奶、阿里叔叔、阿里姑姑、阿里舅舅、阿里爸爸、阿里婶婶、阿里宝宝)聚会,这次飞猪的品牌更名,阿里并未进行全类别保护。


“脉动”是达能集团旗下的运动维生素饮料品牌,源于新西兰,自2003年进入中国市场以来,以居住在城市的年轻人,年龄约18-35之间,由于工作需求,经常在户外活动的人群为消费主体。2016年年初,脉动迎来品牌的全面升级,启用新包装、新logo 和新的 slogan。
作为国际食品行业的巨头,脉动不仅将新脉动进行了保护,还一口气注册下了脉动击掌、脉动爱心、脉动赞、脉动ok、脉动 I LOVE YOU、脉动吃货装、脉动走起GO,最奇特的是,脉动还注册了一个脉动自信,这是鼓励自己的节奏吗?


专注鱼点评:企业更换logo已不足为奇,但是企业在品牌升级的同时亦要做好知识产权保护。对于品牌的保护,最常用的方式就是申请商标注册,但专注鱼也建议对LOGO做版权登记,因为版权保护范围比较广,但是版权的保护一般限于图形,对于简短文字并不受保护。因此在公司品牌保护中,可以将商标注册和版权登记相结合进行。